In queste settimane sono spuntati online non pochi brevetti che hanno svelato non poche informazioni su PlayStation 5, nuova console di Sony che verrà svelata in modo più approfondita nelle prossime settimane.
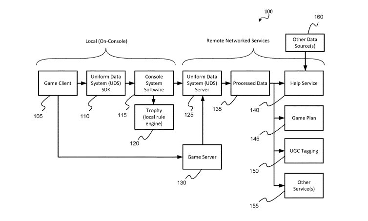
Quindi ecco che in queste ore è finito online un nuovo brevetto che mostra come il colosso giapponese abbia intenzione di fare guerra agli spoiler con un sistema specifico di blocco automatico.
Tutto ciò non può che portare alla mente il leak del finale di The Last of Us: Part II, con questo software di sistema che potrebbe quindi bloccare la condivisione di spoiler indesiderati dall’utente.
Questo software dovrebbe infatti essere capace di analizzare i contenuto condivisi dagli utenti, analizzando i metadati e quindi riconoscendo i vari spoiler, eliminandoli o nascondendoli automaticamente.
Il brevetto di cui sopra non si concentra sull’eventuale interfaccia di questo sistema anti spoiler, ma soltanto sugli scemi logici che lo compongono.

Vi ricordiamo che PlayStation 5 arriverà sul mercato a fine anno, con design e prezzo di listino però ancora avvolti nel mistero.
Intanto cliccate al seguente link per scoprire tutti i giochi attualmente in arrivo sulla console next-gen di Sony.
Di seguito vi elenchiamo invece le caratteristiche del controller presentate ufficialmente:
- Feedback Aptico
- Grilletti Adattivi
- Microfono integrato
- Ingresso Jack per le cuffie
- Batteria interna ricaricabile (ingresso USB-C) – autonomia non ancora dichiarata ma sicuramente in linea o maggiore con quella del Dualshock 4
Cliccate al seguente link per saperne di più sul Tempest Engine Audio della console Next-gen di Sony.
A questo punto vi ricordiamo ancora una volta che PS5 sarà acquistabile a fine anno, con la data di lancio ufficiale però ancora avvolta nel mistero!
Qui di seguito trovate le specifiche tecniche della console:

